گوشی سهتکه سامسونگ با سه باتری عرضه می شود!

سامسونگ در آستانهی انقلاب تازهای در دنیای تاشوهاست؛ پتنتهای جدید نشان میدهند گلکسی Z TriFold نهتنها با طراحی سهتکه عرضه میشود، بلکه سه باتری مجزا هم در دل خود دارد تا غول کرهای بار دیگر مرزهای نوآوری را جابهجا کند.
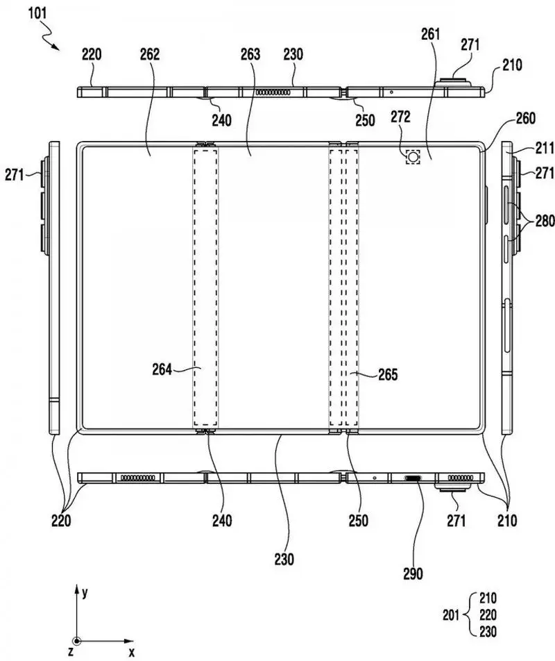
پتنتهای جدید منتشر شده از گوشی سهتکه سامسونگ که با نام گلکسی زد TriFold شناخته میشود نشان میدهند این گوشی ظاهراً قرار است به سه باتری مجزا نیز مجهز شود.
این پتنتها توسط وبسایت کرهای KIPRIS منتشر شدهاند و در آنها میتوان دید که سامسونگ قصد دارد سه باتری مجزا را درون گوشی سهتکه خود قرار دهد. ازآنجاییکه این گوشی از نوع سه تاشو است، شامل سه بخش میشود که در هر بخش نیز یک باتری را درون خود جای داده است.
گوشی سهتکه سامسونگ ظرفیت باتری بالایی خواهد داشت
طرحی که در سند پتنت ضمیمه شده نشان میدهد که کوچکترین باتری (T1) در بخشی قرار گرفته که دوربینهای سهگانه پشتی در آن تعبیه شدهاند، درحالیکه دومین باتری بزرگتر (T3) در بخشی قرار دارد که نمایشگر بیرونی را در خود جای داده است. در نهایت، بزرگترین باتری (T2) در بخشی میانی قرار گرفته که هنگام تا شدن دستگاه، میان دو بخش دیگر قرار میگیرد.
در این سند اطلاعاتی درباره ظرفیت دقیق هر باتری یا ظرفیت کل و همچنین سرعت شارژ آورده نشده است، اما انتظار میرود که این گوشی از لحاظ شارژدهی عملکرد بهتری از گلکسی زد فولد ۷ داشته باشد. زد فولد ۷ با باتری ۴۴۰۰ میلیآمپرساعتی و پشتیبانی از شارژ سیمی ۲۵ واتی عرضه شده بود که در مقایسه با رقبا چندان چشمگیر به نظر نمیرسد.
برخی گزارشهای پیشین حکایت از آن داشتند که گلکسی زد TriFold بهصورت انحصاری در کره جنوبی و چین عرضه خواهد شد، اما گزارشهای بعدی نشان میداد این دستگاه ممکن است در ایالات متحده نیز عرضه شود. طبق شایعات جدیدتر، احتمالاً رونمایی از این گوشی در اواخر ماه جاری میلادی انجام خواهد شد.
همچنین انتظار میرود که اولین هدست XR مبتنی بر اندروید سامسونگ با نام رمزی Project Moohan نیز در همین ماه معرفی شود. برخی منابع امروز تصاویر و مشخصات کامل این هدست را منتشر کردند که نشان میداد سامسونگ در طراحی آن از ویژن پرو اپل الهامات زیادی گرفته است.